Daim Ntawv Tawm Ceev Ceev Los Ntawm Txoj Kev Yuam Kom Ua Rau Siv Tau Siv Raws Li Kev Qhia Thiab Kev Ntaus Tus Ntaus
Aug 13, 2020
Tawm ceev ceevlub xauv tesmuaj kev hla dhau txhais tau tias yuav siv ob qho kev qhia ua ib qho kev kawm thiab kev txwv tus ntaus
Abstract:
A lub xauv tesrau dual siv raws li kev qhia tawm-ceev kev cob qhia khoom siv thiab qhov khoom txwv tiag tiag, uas muaj qhov tsis tso cai thiab tus neeg koom tes ua haujlwm nrog cov hniav. Tuslub xauv tessuav nrog lub rooj sib dhos kaw, pov tseg nyob rau hauv qhov tsis tso cai, uas muaj lub pawl muaj thawj qhov kawg pivotally txuas mus rau qhov kev txiav txim thiab qhov kawg nrog cov hniav pivotal ntawm txoj haujlwm ruaj ntseg uas cov hniav ntawm pawl koom cov hniav ntawm tus tswv cuab ratchet thiab unsecured txoj hauj lwm nyob rau hauv uas lub thib ob kawg ntawm pawl yog sib cais los ntawm tus tswv cuab ratchet. Qhov kawg ob ntawm pawl ntxiv muaj xub pwg ntsug rau kev sib koom tes nrog lub flange ntawm qhov tseem ceeb uas tau muab tso rau hauv lub rooj sib dhos kaw rau kev tswj lub pawl ntawm qhov ruaj ntseg thiab tsis ruaj ntseg txoj haujlwm thaum tig qhov tseem ceeb. Tus tswv cuab nres nres sab saum lub pawl thiab txav mus rau hauv thiab tawm ntawm kev sib cuag nrog lub pawl raws li kev sib koom tes nrog tus yuam sij los tiv thaiv tus pawl los tso rau hauv txoj hauj lwm tsis ruaj ntseg thaum tus tswvcuab nres rau hauv kev sib cuag nrog lub pawl. Thawj lub khawm thiab pob qhov rooj tau muab los ua kom tau nrawm nrawm dua rau kev tso lub pawl rau hauv txoj hauj lwm tsis muaj kev ruaj ntseg thaum tus tswvcuab nres tsis nrog tus pawl. Ib pliag thiab ob lub qhov rooj muaj nrog muab qhov yooj yim kom nrawm thiab cuam tshuam rau tus neeg nres.
Qee yam pom zoo kom cov khoom rau koj siv :
https://www.senkencorp.com/search/handcuff.html
https://senken.en.alibaba.com/search/product?SearchText=handcuff
Handcuff Video:
https://www.youtube.com/watch?v=59rcOB1g1ms
https://www.youtube.com/watch?v=tt1FHbiJ4R0
https://www.youtube.com/watch?v=WBOlplSF7ps
Kev piav qhia
Daim ntawv thov no tau txuas ntxiv-ntawm-ib feem ntawm daim ntawv thov patent Ser. No. 08 / 276,093 foob rau Lub Xya Hli 15, 1994 tam sim no US Pat. Tsis yog. 5,463,884 rau" QUICK RELEASEHANDCUFFNYIAM UA TXHUA YAM RAU KEV TXAUS SIAB SIV DUAL SIV AS COB QHIA THIAB RESTRAINING NTAUS" los ntawm Lansing S. Woo thiab Ronnie J. Frigulti, raug pom zoo rau lub Plaub Hlis 3, 1995.
1. Teb ntawm Kev Tshawb Pom
Qhov kev nthuav tawm tam sim no cuam tshuam txog kev txwv kev tuav tus kheej, thiab tshwj xeeb tshaj yoglub xauv tesntawm qhov zoo ib txwm siv los ntawm tub ceev xwm hauv txoj kab ntawm txoj haujlwm.
2. Nqe lus piav txog ntawm Kos Duab Sib Xws
Nws yog qhov muaj npe ntawm cov tub ceev xwm, thiab npaj tau zoo txhawb nqa los ntawm cov ntaub ntawv teev cia, tias ib qho ntawm cov kev phom sij tshaj plaws thiab cov haujlwm tsis txaus ntseeg ua los ntawm cov tub ceev xwm yog tus txheej txheem ntawmkev xuas testus neeg raug liam.
Txawm li cas los xij, hnub no' s tub ceev xwm tub ceev xwm tau txais kev ua haujlwm me me dhau los ua qhov tsim nyogkev xuas testxheej txheem. Txawj txaus nyob rau hauvkev xuas tescov tswv yim xav tau kev coj ua ib txwm thiab ib txwm ua, thiab kev qoj ib ce tsis tu ncua, kev ua tau zoo yog poob sai, zoo li kev ntseeg tus kheej hauv ib qho'kev xuas tesmuaj peev xwm.
Cov tub ceev xwm feem ntau yuav tsum tau xyaum ua ntu zus thiab tsim nyog tau txais lawv cov riam phom pabcuam, tab sis tsawg tsawg tus yuav tsum tau soj ntsuam thiab ua haujlwm kom tsim nyogkev xuas tescov txuj ci kom tau raws li qhov tsim nyog los txhim kho kav ntev kev txawj thiab kev paub. Tej zaum qhov teeb meem loj tshaj plaws uas ua kom poob siab tsis tu ncua kev pheej hmoo yog qhov nyuaj hauv kev tshem tawm covlub xauv tesib zaug lawv tau nyab xeeb. Qhov no yog vim hais tias dexterity yuav tsum tau nyob rau hauv manipulating tus yuam sij rau account lublub xauv tesCov. Tso ntimlub xauv tesntawm tus neeg raug liam (lossis tus kws cob qhia) ncaj qha ncaj qha raws li tus txheej txheem tau yooj yim los ntawm kev siv cov pawl thiab ratchet mechanism ib txwm uas tso cai cov xauv tes ua" npuaj rau" tus neeg phem' s lub dab teg yam tsis siv tus yuam sij. Txawm li cas los xij, thaum lub pob xauv tes raug tshem tawm, tus tub ceev xwm yuav tsum tuav tus tub rog' s sab caj npab rau hauv qhov chaw, ntxig tus yuam sij rau ntawm lub xauv tes nrog qhov sib dhos kom zoo rau lub keyhole, tig tus yuam sij rau nqa lub caij nplooj ntoo hlav ua kom pawl los ntawm koob cheem thiab kev ntxias tes mus daws pob lav. Tsis tas li ntawd, thaum cov xauv tes muaj ob chav ntsuas phoo (piv txwv li, US Pat. No. 4,574,600 muab rau Moffet) yog ua haujlwm ntxiv rau kev nyab xeeb hauv kev tiv thaiv tus neeg phem los xaiv lub ntsuas phoo ntawm lub xauv tes, ib kauj ruam ntxiv yuav tsum xub tig tus yuam sij hauv tsis qhib kev taw qhia nyob rau hauv thiaj li yuav xauv lub ob chav ntsuas phoo mechanism.
Hauv kev cob qhia, qhov teeb meem tshwm sim hais tias lub sijhawm ntau dhau lawm los siv sijhawm hauv kev tshem tawm tuslub xauv teslos ntawm kev siv tus yuam sij ntau dua li kev coj ua cov kev thov hauv kev thov. Lub sijhawm muaj kev cob qhia txog kev rau tes nrog, kwv yees li ob feem peb txog peb-plaub ntawm kev cob qhia raug siv los ntawm cov tub ntxhais kawm hauv kev tshem tus menyuam pob tes, tawm lub sijhawm tsawg dhau los mus xyaum lwm cov kev rau tes. Ntau zaus, cov kws qhia ntawv tau hais qhia rau cov menyuam kawm kom sim kev ntxuav tes tiag kom thiaj yuav txuag tau sijhawm kawm. Lwm qhov tsis zoo yog tias nrog kev ncua ntev ntawm kev coj ua tiag tiag thiab kev siv cov txuj ci simulated, cov tub ntxhais kawm tau sai dhau los ua laj nyob rau qhov kev kawm, thiab yog li, tsis txhob npaj txhim kho cov txuj ci uas yuav tsum muaj kom muaj kev nyab xeeb rau kev tiv thaiv ib tus neeg phem.
Hauv kev kos duab ua ntej, khoom siv tes ua si, xws li cov tau piav qhia hauv Asmeskas Pat. Nos. 1,806,163 thiab 3,423,871 muab rau TJ Hoglund thiab CF Foley, ntsig txog, tau tsim qauv nrog kev tso tawm nrawm nrawm los pab txhawb kev qhib lub koom tes ntawm lub menyuam yaus. Txawm li cas los xij, cov pob ntiv tes no yog tsim rau siv tsuas yog cov khoom ua si raws li lawv tuaj yeem qhib tau yooj yim los ntawm tus neeg hnav tsis tau siv lub pob. Txawm hais tias cov tes kaw taw zoo li no yuav raug coj los siv rau txoj kev kawm, lawv yuav tsis lees txais rau kev siv ntawm tub ceev xwm vim tias lawv tsis suav nrog cov qauv tsim thiab kev ua haujlwm zoo ib yam li cov uas tau siv hauv thaj teb. Tus tub ceev xwm uas xyaum nrog hom sib txawv ntawm lub khaub ncaws thaum lub sij hawm kev kawm yuav tsis muaj kev txawj txaus thiab kev ntseeg siab ntawm kev siv cov khaub ncaws tiag ntawm txoj kev. Ntxiv mus, nws tseem yuav nyuaj rau nrhiav pov thawj cov nuj nqis rau cov tub ceev xwm lub nroog thiab xeev cov tub ceev xwm rau kev cais cov khaub ncaws kev cob qhia txij li lawv tsuas siv tau rau cov hom phiaj kev kawm.
Raws li, nws yuav muaj txiaj ntsig los muab cov paj taub ntawm cov hom uas ib txwm siv los ntawm tub ceev xwm muaj qhov ceev-tso tawm rau txoj kev kawm thiab txhais tau tias rau kev hla lub tswv yim-tso tawm ceev kom qhov kev cob qhia kev hloov pauv tuaj yeem hloov mus rau qhov kev txwv rau qhov tseeb siv.
Lwm lub hom phiaj ntawm kev cob qhia kev rau tes yog los tsim tus cwj pwm hauv cov tub ntxhais kawm kom ib txwm koom ua ob lub xauv ntawm kev sib tw tom qab lub xauv tes ua txhaum ntawm tus neeg phem. Vim tias tam sim no, ib tus tub ntxhais kawm yuav tsum siv qhov kawg ntawm lub xauv tes yuam kev lossis lwm yam khoom siv los koom nrog lub tshuab xauv ob lub sijhawm no thaum kawm, feem ntau cov tub ntxhais kawm tsis nco qab koom nrog kev xauv ob lub tshuab nkaus.
Raws li, nws yuav muaj txiaj ntsig los muab cov paj taub ntawm cov hom uas ib txwm siv los ntawm tub ceev xwm uas muaj txhais tau rau kev cuam tshuam sai sai / cuam tshuam lub xauv ob-tshuab rau kev qhia ua haujlwm thiab ib txoj hauv kev tshem tawm cov kev txhais tau no kom qhov kev cob qhia kev hloov pauv tuaj yeem hloov mus rau txwv kev siv lub sijhawm siv tiag tiag.
Muaj ib co kev tuav tes pom zoo cov khoom rau koj siv :
https://www.senkencorp.com/search/handcuff.html
https://senken.en.alibaba.com/search/product?SearchText=handcuff
Handcuff Video:
https://www.youtube.com/watch?v=59rcOB1g1ms
https://www.youtube.com/watch?v=tt1FHbiJ4R0
https://www.youtube.com/watch?v=WBOlplSF7ps
Nws yog vim li no lub hom phiaj ntawm qhov tsim tawm tam sim no los muab kev ceev nrawm nrawm nrawm nrog kev txhais tau tias siv ob txoj kev siv los ua kev cob qhia thiab kev txwv kom siv tau.
Nws yog lwm qhov khoom ntawm qhov kev tsim tawm tam sim no los muab lub xauv tes nrog ceev-tso cov nyees khawm mounted ntawm ob sab ntawm qhov tso ntawm lub pob ntawm lub xauv tes, nrog cov nyees khawm ua ke rau lub pawl ntawm lub rooj sib txig sib dhos ntawm lub pluaj-tso nrawm rau disengaging lub pawl los ntawm ratchet thiab xauv lub xauv tes thaum lub zog ntawm cov nyees khawm.
Nws tseem yog lwm qhov khoom ntawm qhov kev tsim tawm tam sim no los muab kev ceev nrawm raws li tau piav qhia saum toj no muaj lub tshuab xauv ob npaug rau kev ua kom lub ntsej muag ua kom zoo thiab tiv thaiv lub pob tes tiv thaiv kom tsis txhob xauv nrog lub khawm ceev-nrawm kom pab siv cov xauv tes. raws li kev txwv siv tiag tiag.
Nws yog lub hom phiaj ntxiv ntawm qhov kev tsim tawm tam sim no kom muab lub tes xuas tes tuav nrog ob chav ntsuas phoo txhawm rau txuas ntxiv rau lub nrawm nrawm-txhawm rau txhawm rau txhawm rau txhawm rau txhawm rau ob leeg txhav tas kev ua haujlwm ntawm kev sib hloov ntawm tus ncej thiab lub khauj khiab raws li ib qho ntawm kev sib hloov thiab kev txhais lus ntawm tus ncej. , nrog rau txoj kev tso nrawm nrawm tau raug tshem tawm ntawm nws txoj kev txuas mus rau pawl kom hloov cov xauv tes mus rau qhov tseeb txwv tsis pub siv.
Nws yog ib lub hom phiaj ntxiv ntawm qhov kev tsim tawm tam sim no kom muab lub tes xauv nrog muaj ob chav kaw lub khawm txuas nrog ob chav ntsuas phoo txuas ntxiv rau kev tso tawm nrawm rau kev xauv lub xauv tes. Lub rooj sib txig ob chav sib koom ua ke thiab cuam tshuam lub tshuab xauv ob npaug thiab tuaj yeem tshem tawm ntawm nws txoj kev txuas mus rau kev siv lub tshuab ntsuas ob chav los hloov lub xauv tes rau hauv ib qho khoom txwv.
Cov no thiab lwm lub hom phiaj ntawm qhov kev tsim tawm tam sim no tau ua tiav los ntawm kev muab lub xauv tes nrog sab nraub qaum, khawm nrawm nrawm uas tso tau tus tes nqa tawm ntawm lub xauv thiab tshem tawm yam tsis siv tus yuam sij. Qhov tsim muaj yog feem ntau siv rau hauv kev cob qhia vim nws txo qis lub sijhawm yuav tsum tau qhib thiab tshem lub xauv tes thaum lub sijhawm kawm kev cob qhia. Txawm li cas los xij, qhov tsim muaj ntxiv muab ob chav xauv lub tswv yim uas tsis tsuas yog xauv lub pawl rau qhov sib txuam, tab sis kuj tseem tuav cov khawm nrawm-tso rau hauv qhov chaw kom cov xauv tes yuav siv tau los ua qhov khoom txwv tiag tiag los ntawm tub ceev xwm hauv thaj teb.
Tsis tas li ntawd, nyob rau hauv ib qho kev hloov pauv ntawm kev tsim tawm tam sim no, ib hom kev cob qhia kev tuav tes yog muab nrog ob chav txhav ntsuas phoo uas tseem tuaj yeem xauv tau ntawm cov khawm nrawm nrawm los muab txoj haujlwm sai thiab zoo dua nyob rau hauv kev ua haujlwm ntawm ob chav txhav khoom tshwj xeeb thaum lub xauv txhais tes. yog thov rau tus neeg kawm haujlwm' s dab teg. Txawm li cas los xij, cov hom kev cob qhia no yuav raug hloov mus ua qhov kev txwv tiag tiag los ntawm khawm cov khawm nrawm-khawm thiab khawm ntawm tes uas muaj cov tub ceev xwm yuam tsis tau lub xauv tes.
Ntxiv mus, nyob rau hauv qhov zoo dua ntawm qhov tsim muaj tam sim no, ib hom kev cob qhia kev tuav tes yog muab nrog lub xauv ob lub tshuab uas tau koom ua ke thiab cuam tshuam los ntawm kev txav ntawm ob chav kaw lub khauj khawm thiab khawm, uas yog txuas nrog ob chav ntsuas phoo. Qhov ob chav kaw lub thawv no yooj yim ua rau muaj kev cuam tshuam / cuam tshuam ntawm kev siv lub tshuab xauv ob npaug thiab yog li, pab txhim kho tus cwj pwm ntawm cov tub ntxhais kawm ib txwm koom nrog kev coj tus kheej ob lub tshuab txuas tom qab lub xauv tes ruaj ruaj rau ntawm tus neeg phem. Lub xauv tes kuj tseem muab cov khawm nrawm-tso tawm, txuas nrog lub nrawm nrawm-tso tawm, rau kev xauv lub pob tes ntoo raws li kev txhais lus ntawm tus ua haujlwm.
Cov khoom, nta thiab qhov zoo ntawm qhov kev nthuav qhia tam sim no yuav pom meej los ntawm cov ncauj lus kom ntxaws ntxaws hauv qab no uas:
LIG. 1 (A) yog qhov yooj yim pom kawg ntawm lub khauj tes uas qhia cov kab uas siv ob sab ntawm lub ntsej muag uas muaj ob rab hle nrawm sib txuas thiab cov pob qhov rooj txuas rau ntawd, tus tswvcuab mus pov tseg ntawm cov phaj sab thiab ib tus yuam sij siv los ntsuas thiab xauv tus tes xauv.
LIG. 1 (B) yog saib sab xis ntawm lub xauv ntawm qhov kev tsim tawm tam sim no uas qhia tus tswv cuab ratchet ruaj tsis pub dhau ntawm qhov kev pov hwm ntxiv rau sab saum toj ntawm ib sab phaj ntawm qhov kev tso saib nyob rau ntawm ib qho tseem ceeb, lub pob qhov rooj ntawm qhov ceev-tso tus ncej thiab kab rov tav qhov rau manipulating ob chav txhav tas mechanism.
LIG. 2 (A) yog ib sab saib ntawm lub teeb ntawm lub xauv tes uas qhia lub pawl nyob rau hauv txoj haujlwm ruaj khov thiab ob chav ntsuas phoo mechanism nyob hauv txoj haujlwm koom.
LIG. 2 (B) yog ib sab saib ntawm lub zuag ntawm lub xauv tes uas qhia lub pawl nyob rau hauv txoj haujlwm ruaj khov thiab ob chav ntsuas phoo mechanism nyob hauv txoj hauj lwm tsis sib haum.
LIG. 2 (C) yog ib sab saib ntawm lub teeb ntawm lub xauv tes uas qhia lub pawl nyob rau hauv txoj haujlwm tsis ruaj ntseg thiab ob chav ntsuas phoo mechanism nyob hauv txoj hauj lwm tsis zoo.
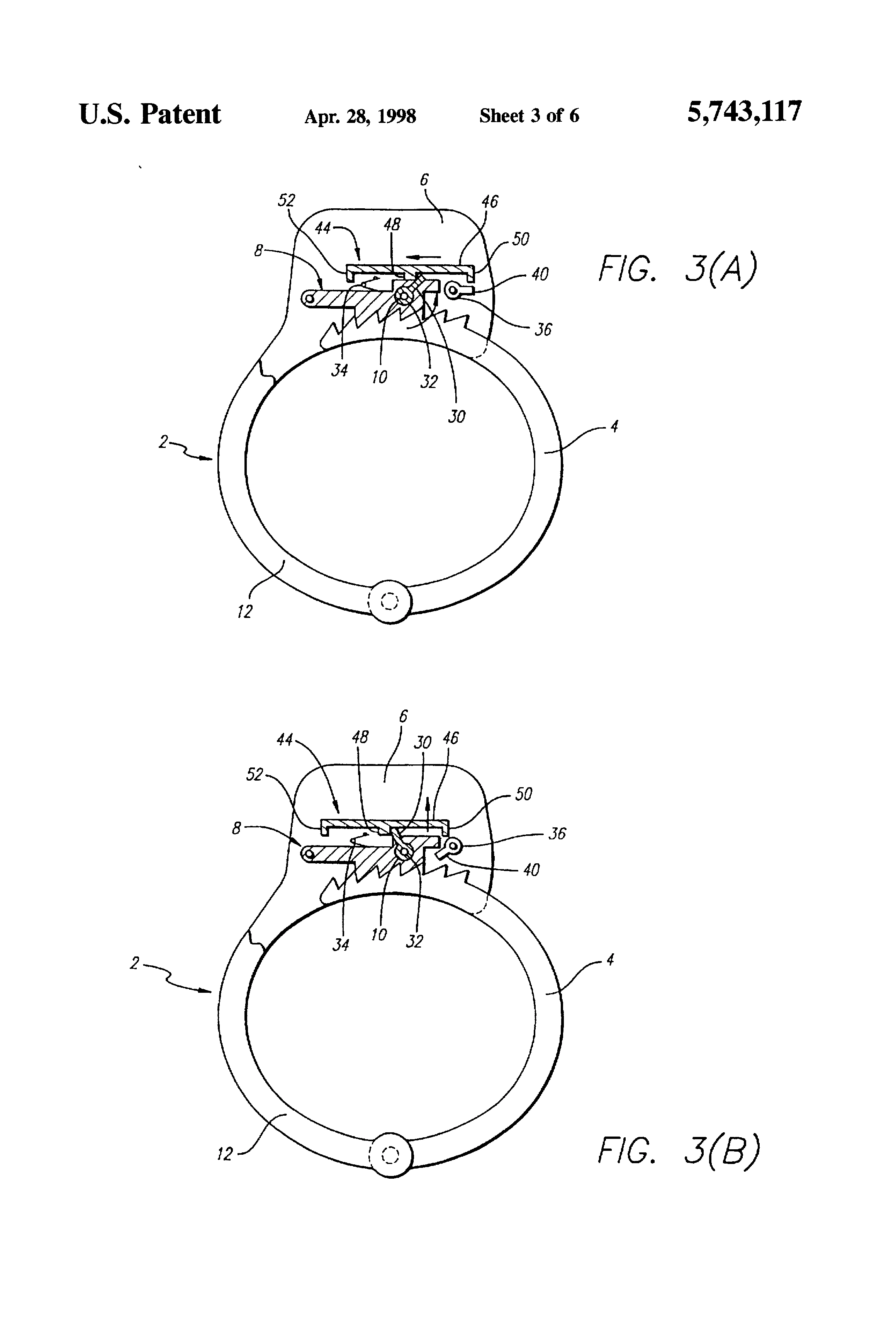
LIG. 3 (A) yog ib sab pom ntawm lwm txoj hauv kev ntawm lub pob tes taw uas qhia tus tswv cuab ratchet raug kev koom tes los ntawm pawl thiab ob chav ntsuas phoo mechanism nyob rau hauv txoj hauj lwm koom, nrog tus ceev-tso tus ncej tau tig txog nws txuas mus rau pawl rau disengage lub tshuab xauv ob chav.
LIG. 3 (B) yog ib sab ntawm kev saib lwm yam ntawm cov tes ntawm cov paj taub uas qhia hauv FIG. 3 (A), nrog tus tswv cuab ratchet raug koom tes los ntawm pawl thiab lub tshuab xauv ob tog tau cuam tshuam los ntawm kev sib hloov ntawm tus tes tsho-tso nrawm.
LIG. 3 (C) yog qhov muaj qhov kawg ntawm qhov pom ntawm lub rooj sib dhos kaw raws li qhov hloov khoom siv lwm yam hauv FIG. 3 (A) nyob rau ntawm qhov nrawm nrawm-tso tawm tsav piv rau lub pawl sib txuas ntawm cov pob uas tshem tsis tau thiab lub tes tsho sib txuas.
LIG. 3 (D) yog qhov pom ntawm qhov kawg ntawm lub rooj sib dhos kaw raws li qhov hloov khoom siv lwm yam hauv FIG. 3 (A) nyob rau ntawm qhov nrawm nrawm-tso nrawm yog piv rau pawl los ntawm kev sib nrig sib ntawm qhov kawg ntawm tus ncej thiab lub qhov (pob) tsim nyob rau hauv lub pawl.
LIG. 4 (A) yog ib sab pom ntawm lwm txoj hauv kev ntawm lub pob tes taw uas qhia tus tswv cuab ratchet raug kev koom tes los ntawm pawl thiab ob chav ntsuas phoo mechanism nyob rau hauv txoj hauj lwm koom, nrog cov ntawv sib nrawm sib txuas piv rau ib sab phaj ntawm qhov kev txiav txim txav ze rau qhov kawg thib ob ntawm lub pawl kom ua kom muaj kev cuam tshuam ntawm kev siv lub tshuab xauv ob sab thiab xauv ntawm lub xauv tes nrog ib qho kev sib hloov ntawm kev txav.
LIG. 4 (B) yog ib sab ntawm kev saib lwm yam ntawm cov tes ntawm cov paj taub uas qhia hauv FIG. 4 (A), nrog tus tswv cuab ratchet tau koom tes los ntawm pawl thiab ob chav txhav ntsuas phoo nyob hauv qhov chaw tsis zoo.
LIG. 4 (C) yog ib sab ntawm kev saib lwm yam ntawm cov tes ntawm cov paj taub uas qhia hauv FIG. 4 (A), nrog tus tswv cuab ratchet raug muab cuam tshuam los ntawm pawl thiab lub tshuab xauv ob chav kuj tau nyob hauv qhov tsis ncaj ncees.
LIG. 5 (A) yog ib sab saib ntawm lwm lub npuaj tes ntawm lub khauj khiab uas qhia ob qho tib si nrawm nrawm-txuas, ob chav khawm lub ntsej muag thiab lub pob khawm sib txuas ntawm txhua qhov kawg.
LIG. 5 (B) piav qhia qhov pom dav ntawm ntu ntawm lub pob tes los ntawm kab A' - A'.
LIG. 5 (C) qhia txog kev saib ntu ntawm ntu ntawm lub pob tawb ntawm kab B' - B'.
Qhov kev tsim tawm tam sim no muab cov khoom tes ceev nrawm dhau qhov txhais tau tias siv ob txoj kev siv ua cov khoom siv kev cob qhia thiab kev txwv kev siv. Hauv cov lus piav qhia nram qab no, rau cov laj thawj ntawm kev piav qhia thiab tsis muaj kev txwv, cov ntsiab lus tshwj xeeb tau tsim tawm, xws li cov qauv vaj huam sib luag thiab cov ntsiab lus, tshwj xeeb qhov ntev, cov tswv yim tshwj xeeb, thiab lwm yam kom muaj kev nkag siab zoo ntawm qhov kev tsim tawm tam sim no. Txawm li cas los xij, nws yuav pom meej rau ib tus neeg txawj ntse hauv kev ua yeeb yam uas qhov kev nthuav tawm tam sim no yuav raug coj mus ua lwm yam thiab tsis muaj txhua cov ntsiab lus tshwj xeeb tau teev tseg. Hauv lwm qhov xwm txheej, cov paub zoo thiab cov kev siv tsis tau tsim tawm kom meej kom tsis txhob ua qhov tsis zoo rau cov tawm tshiab tam sim no.
Raws li qhia hauv cov YOOJ YIM. 1 (A) thiab 1 (B), tus ceev xwm ceev-tso tawm ntawm tus tsim muaj tam sim no suav nrog kev tsis tso cai 2 muaj cov kab sib tshooj sab 12 txuas ntawm qhov xub thawj thiab thib ob xaus 14, 16 ntawm qhov tso 2 thiab ib tus neeg koom pov npav 4 muaj ib qho sib nrug qhov kawg 18 piv rau thawj zaug kawg 14 ntawm qhov lav 2 kom pab tau hla ntawm qhov kawg distal 20 ntawm tus tswv cuab ratchet 4 nyob nruab nrab ntawm cov paib uas tuaj tog 12. hauv cov phaj ob sab 12 ntawm qhov tuav pov tseg 2. Li qhia hauv txhua ntawm cov FIGS. 2-4, lub rooj sib dhos kaw 6 feem ntau suav nrog lub pawl 8 muaj qhov xaus kawg 22 piv rau qhov muab tso tawm 2 thiab qhov kawg thib ob 24 yoog nrog cov hniav rau kev sib koom tes nrog cov hniav ntawm tus tswv cuab ratchet 4. Qhov kawg ob 24 ntawm pawl 8 yog qhov tseem ceeb ntawm qhov chaw ruaj ntseg qhov twg cov hniav ntawm lub pawl 8 koom nrog cov hniav ntawm tus tswv cuab ratchet 4 thiab txoj haujlwm tsis ruaj ntseg qhov twg lub pawl 8 yog tag nrho tsis tuaj ntawm tus tswv cuab ratchet 4. Qhov kawg ob 24 ntawm pawl 8 yog biased rau hauv kev sib koom tes nrog tus tswv cuab ratchet 4 los ntawm txoj kev ntawm lub caij nplooj ntoos hlav tus tswv cuab 34 thov rau sab saum npoo ntawm pawl 8.
Hauv kev muab lub pob tes ntoo rau ntawm lub dab teg ntawm tus neeg raug liam, qhov tsis txaus siab kawg 20 ntawm tus tswv cuab ratchet 4 piv rau qhov kev tawm tsam sab nraud ntawm sab caj npab thiab muab tso rau hauv lub rooj sib dhos kaw 6 qhov chaw uas tus hniav ntawm pawl 8 thiab tus tswv cuab ratchet 4 koom nrog kom ruaj ntseg cov tswv cuab ratchet 4 tsis pub dhau txoj kev cai 2. Txhawm rau xauv lub pob tes taw uas tsis siv kev siv nrawm nrawm, pawl 8 yog cais los ntawm tus tswv cuab ratchet 4 los ntawm txoj kev yuam sij 36 raug tso los ntawm qhov tseem ceeb 42 tsim nyob rau hauv ib sab phaj 12 ntawm qhov kev tiv thaiv 2. Thaum lub sijhawm distal kawg 20 ntawm qhov tseem ceeb 36, flange 40 yog muab rau kev sib koom ua ke lub xub pwg ntsug 26 tsim ntawm qhov kawg ob 24 ntawm lub pawl 8 thaum lub moos sib hloov ntawm qhov tseem ceeb 36. Lub flange 40 ntawm tus yuam sij 36 rub lub xub pwg ntsug 26 sab rov los nqa lub pawl 8 tawm ntawm cov hniav ntawm tus tswv cuab ratchet 4 tawm tsam kev tsis ncaj ncees ntawm lub cev caij nplooj ntoos hlav 34.
Txhawm rau hloov cov tes saum toj saud mus rau hauv ib lub cuab yeej kev cob qhia, qhov kev tsim tawm tam sim no muab cov txheej txheem tawm nrawm nrawm nrog tus ncej 10 txuas rau sab ntsej muag ntawm lub pawl 8 ntawm nws qhov kawg kawg 24, nyiam dua nyob rau hauv ib qho kev txiav txim siab feem ntau rau sab ntsej muag. Cov. Raws li qhia hauv cov YOOJ YIM. 1 (A) thiab 2 (A), distal kawg 20 ntawm tus ncej 10 tiv thaiv los ntawm txoj kab ntsug (tsis qhia) tsim nyob rau hauv ib sab phaj 12 ntawm cov nuj nqi 2 thiab tau txuas rau ntawm lub pob qhov taub 32 muaj qhov loj dua dua li qhov ntev ntawm lub qhov. Nrog rau qhov kev hloov kho no, tus kws qhia tuaj yeem cuam tshuam txog lub pawl 8 ntawm tus tswv cuab ratchet 4 tsis siv tus yuam sij 36 los ntawm kev txhais lus ntawm pob qhov rooj 32 thiab tus ncej 10 upwards raws lub qhov. Hauv cov khoom siv zoo (hauv daim FIG. 1 (A)), ob sab 10 ntxiv txuas ntxiv mus rau sab nraud ntawm lub ntsej muag ntawm lub pawl 8 thiab muaj qhov kawg tsis muaj qhov kawg nthuav tawm los ntawm lub qhov thib ob tsim nyob rau sab phaj 12 nrog lub pob qhov rooj 32 txuas thereto. Los ntawm kev siv ntawm lub ntsiab lus no, tus kws qhia tuaj yeem ceev lub xauv tes los ntawm kev siv lub pob qhov rooj 32 uas tsis hais txog kev xuas lub ncuaj nqa thaum tso rau ntawm caj npab ntawm lwm tus kws qhia.
Nrog rau kev siv ntawm kev tso tawm nrawm, qhov kev tsim ntawm tes ntawm kev tsim tawm tam sim no tau zoo rau kev coj ua cov kev siv tes ua haujlwm txij li nws khaws cov kev ua haujlwm thiab kev tsim qauv ntawm cov khoom siv tes ua haujlwm tab sis ua kom lub handcuff raug tshem tawm los ntawm ib qho yooj yim txav ntawm cov ntiv tes.
Yog li, ib qho ntawm qhov txaus ntshai tshaj plaws ntawm kev txhom tus neeg raug liam - uas yog, raug ntes tus tub sab - tam sim no muaj peev xwm rov ua ntau ntau zaug hauv lub sijhawm luv luv kom ntseeg tau tias txhua tus tub ceev xwm muaj qhov kev paub txaus.
Txawm li cas los xij, txhawm rau txhawm rau siv tus nqi tes ntawm tus nqi tsim nyog thiab muaj ntau yam, qhov kev tsim tawm tam sim no ntxiv muab cov tes tsho nrawm nrawm tsim los siv rau ob qho kev qhia thiab kev siv tiag ntawm txoj kev. Qhov no tau ua tiav los ntawm kev muab lub tshuab xauv ob npaug rau hauv daim ntawv ntawm tus tswv cuab nres 44 pov tseg saum toj ntawm lub pawl 8 raws li qhia hauv FIGS. 2-4. Raws li qhia hauv cov YOOJ YIM. 2-3, tus tswv cuab nres 44 tuaj yeem siv tsab ntawv ntawm qhov yooj yim, elongated bar 46, tsis tau nyob rau hauv lwm txoj hauv kev xaiv, tus tswv cuab nres 44 cov ntawv txuas ntxiv ntawm cov tswv cuab rau lub caij nplooj ntoo hlav 34 siv rau qhov tsis ncaj ncees cov pawl 8 tawm tsam tus tswv cuab ratchet 4 raws li qhia hauv YOOJ YIM. 4 (A), 4 (B), 4 (C) thiab 5.
Tus tswvcuab nres 44 muaj ib feem ntawm sab xubpwg mus rau sab xub pwg 48 feem ntau muab tso tawm ze rau ntawm qhov chaw nres tus tswvcuab 44 thiab muab rau mus rau kev so haujlwm uas tsim nyob rau sab saud thib ob 24 ntawm lub pawl 8. Tus tswv cuab nres 44 ntxiv mus uantej thiab thib ob sab hauv txuas ntxiv ntawm flanges 50, 52 pov tseg rau ntawm qhov xaus ntawm tus neeg nres nres 44, nrog thawj flange 50 tau nyob ze rau qhov kawg thib ob 24 ntawm pawl 8 thiab flange 40 ntawm qhov tseem ceeb 36 thaum tso. Hauv cov cim zoo dua, tus tswv cuab nres 44 txav mus tau rau hauv ib qho kev taw qhia feem ntau (lossis thaum uas tig mus rau pawl 8) los ntawm kev siv lub zog rau ib qho flange 40 txhawm rau txav lub xub pwg 48 hauv thiab tawm ntawm kev sib cuag nrog sab saud pawl 8. Thaum nyob rau hauv kev sib cuag nrog lub pawl 8, tus tswvcuab nres 44 ua haujlwm los ua kom muaj kev sib koom tes ntawm pawl 8 thiab tus tswvcuab ratchet 4 txawm hais tias txav ntawm lub nrawm-tso tus ncej 10 lossis kev sib hloov ntawm qhov tseem ceeb 36.
Hauv lwm txoj hauv kev tsoos tsho, qhia nyob rau hauv FIGS. 2 (A), 2 (B) thiab 2 (C), lub tshuab xauv ob chav yog muaj kev koom tes los ntawm kev txhais lus ntawm tus tswv cuab nres 44 los ntawm sab laug rau sab xis kom txav lub xub pwg 48 ntawm qhov siab tshaj qhov rov qhib ntawm lub pawl 8 mus rau qhov chaw sib txuas lus nrog lub ntsej muag sab sauv ntawm pawl 8. Lub tshuab tsis sib txig los ntawm kev txav mus los ntawm tus tswv cuab nres 44 nyob rau hauv sab nraud. Nrog rau siv mus rau YAJ. 1 (A) thiab 2 (A), lub tshuab ua tau zoo dua los ntawm kev ntxig thiab txav ntawm lub pob tw 38 ntawm qhov tseem ceeb 36 tsis pub dhau lub kab rov tav tsim nyob rau hauv ib sab phaj 12 ntawm qhov tso 2 nyob rau hauv kev sib koom tes nrog lub flange thib ob 52 ntawm qhov nres tus tswv cuab 44. Lub tshuab yog zoo dua muab cais los ntawm tig lub flange 40 ntawm qhov tseem ceeb 36 tsis pub dhau lub rooj sib dhos kaw 6 hauv qhov kev tawm tsam sab nraud ntawm kev sib koom tes nrog thawj flange 50 ntawm tus tswvcuab nres 44. Txawm li cas los xij, nws yuav tsum pom meej tias lwm yam txhais tau tias rau kev hloov mus rau tus tswvcuab nres 44 tej zaum yuav raug tsim los, piv txwv li, los ntawm qhov ntxig rau ntawm lub pob tw 38 ntawm qhov tseem ceeb 36 hauv ib txoj kab 28 tsim nyob rau hauv ib sab phaj 12 (lossis nruab nrab ntawm daim phiaj 12) rau sab xis ntawm thawj flange 50 kom txav nres tus tswvcuab 44 tawm ntawm kev sib cuag nrog lub pawl 8, thiab los ntawm txoj kev sib hloov qhov tseem ceeb 36 hauv ib sab moos ua ke kom koom rau thawj flange 50 thiab txav tus tswvcuab 44 mus rau hauv kev sib cuag nrog lub pawl 8.
Nrog txoj kev tsim kho no, cov paj taub tes ceev-tam sim no haum rau qhov siv tiag tiag los ntawm tub ceev xwm hauv lub tshav pob. Thaum tus neeg raug foob raug ntes, lub xauv tes yog ruaj rau tus neeg phem' s caj npab los ntawm ntxig tus tswv cuab koom tes 4 rau hauv qhov tso 2 thiab siv lub pob tw 38 ntawm tus yuam sij 36 los koom ua ke thib ob ntawm 52 ntawm tus tswv cuab nres 44 thiab txav mus rau tus neeg nres 44 mus rau hauv kev sib cuag nrog lub pawl 8 (FIG. 2 (A)). Hauv ob txoj haujlwm xauv no, tus neeg phem tiv thaiv tsis tau xauv lub xauv tes los ntawm kev txav ntawm lub pob qhov rooj 32 ntawm cov tes tsho ceev 10 vim tias nws tsuas tuaj yeem txav tau tom qab ob chav ntsuas phom tau ua rau muaj kev cuam tshuam los ntawm kev nkag thiab kev hloov ntawm qhov tseem ceeb 36 hauv lub luag haujlwm li qub-moos ntawm lub moos (FIG. 2 (B)). Lub xauv tes ces tuaj yeem xauv tau yog los ntawm txoj kev sib hloov ntawm qhov tseem ceeb 36 hauv kev siv moos hauv moos lossis tsuas yog rub tawm ntawm lub pob qhov rooj 32 ntawm cov tes nrawm-tawm 10 (FIG. 2 (C)).
Raws li kev hloov pauv lwm yam uas tau qhia hauv FIGS. 3 (A) thiab 3 (B), lub tes txav ntawm qhov kev tsim tawm tam sim no tau muab nrog cov nrawm nrawm 10 piv piv rau lub pawl 8 ntawm nws qhov kawg kawg 24. Lub pob tig 10 muaj lub ntsej muag sab nraud lossis qhov projection 30 pov tseg. rau nws txuas mus rau pawl 8 rau kev sib koom tes nrog kev sib tw rau yav tom ntej 60 tsim nyob rau ntawm lub xub pwg feem 48 ntawm tus neeg koom tes nres 44. Nyob rau hauv no, ob chav ntsuas phoo tuaj yeem cuam tshuam yam tsis tas yuav tsum muaj qhov tseem ceeb 36 los ntawm tig pob qhov rooj 32 ntawm tus tes ua haujlwm 10 hauv qhov kev tawm tsam sab nraud ntawm kev sab nraud los ua kev koom tes rau txoj haujlwm sab nraud 30 nrog rau sab nrawm protuberance 60 thiab txav lub xub pwg feem 48 tawm ntawm kev sib cuag nrog lub pawl 8. Tom qab ntawd kom xauv cov xauv tes, tus neeg siv tsuas xav tsa lub pob qhov rooj 32 ntawm ceev-tso tawm tus ncej 10 upwards los disengage lub pawl 8 los ntawm tus tswv cuab ratchet 4.
Tsis tas li ntawd, kev ua haujlwm ntawm lub tes tsho ob lub luag haujlwm yog khaws cia rau hauv cov qauv no los ntawm kev muab cov txheej txheem tso tawm uas txiav tawm qhov ceev-tso tus ncej 10 los ntawm nws txoj kev sib hloov txuas rau lub pawl 8 xws li lub pob qhov rooj 32, tus ncej 10 thiab sab rau kev kwv yees 30 ntawm tus ncej 10 tuaj yeem tshem tawm ntawm lub xauv tes thaum nws xav hloov pauv lub pob tawb ntawm tes rau kev siv tiag tiag. Lub tshuab tso tawm tej zaum muaj lub pob (thiab hloov tau mus tau yooj yim) lub pob thiab cov pob (socket) sib koom tes 56 nrog cov pob tau raug muab tso rau qhov kawg ntawm tus ncej 10 thiab lub qhov (pob) raug tsim nyob rau sab ntsej muag ntawm lub pawl 8 (FIG. 3 (C)) rau muaj peev xwm tig ntawm tus ncej 10 thaum tso ntxig rau nws qhov kawg mus rau hauv lub qhov (socket). Lwm txoj kev, tso tawm tshuab tej zaum yuav muaj cov kev muab xov ntawm 58 ntawm qhov kawg ntawm tus ncej 10 thiab ib txoj xov txuas tau tsim nyob rau sab ntsej muag ntawm lub pawl 8 (FIG. 3 (D)) xws li qhov kev tiv thaiv tiv thaiv sab nraud ntawm lub moos. 10 txoj haujlwm ua rau txawv txav ntawm lub tshuab xauv ob lub sijhawm thaum sib hloov ntawm lub moos 10 (thaum lub xub pwg seem 48 tau txav tawm ntawm kev sib cuag nrog lub pawl 8) ua rau tshem tawm tus ncej 10 los ntawm pawl 8. Tsis tas li ntawd, txoj haujlwm nrawm-tso tawm 10 tej zaum yuav ua kom tshem tau los ntawm ntxig rau nws kom tiav los ntawm lub pawl 8 thiab ob sab phaj 12 ntawm qhov xwm txheej 2 thiab ua rau nws nyob ruaj chaw yog txuas pob qhov rooj 32 rau txhua kawg ntawm tus ncej 10 ntawm cov xov lossis pob thiab pob qij txha. Nrog rau qhov kev tsim kho no, txoj haujlwm 10 tshem tawm los ntawm kev rho tawm ib lub pob qhov rooj 32 thiab rub tus daim 10 tawm ntawm lub qhov ntxig. Txhawm rau ua kom zoo li cov qauv no rau kev siv tiag tiag, nws yog qhov zoo dua los muab lub qhov tsim ntawm sab phaj 12 ntawm cov xwm txheej 2, thiab li no txoj kev sib txuas ntawm tus ncej 10 mus rau pawl 8, kom deb li deb mus rau sab laug ntawm lub xub pwg feem 48 ntawm tus tswv cuab nres 44 tau (thaum muaj kev sib tsoo nrog lub phav 8) txhawm rau tiv thaiv ib tus tub ceev xwm los ntawm cuam tshuam kev siv lub tshuab xauv ob tog los ntawm kev txav ntawm xub pwg 48 rau sab laug nrog lub ntsuas.
Hauv qhov nruab nrab ntawm qhov tsim muaj tam sim no uas tsis suav nrog tus tswv cuab nres 44, tus tes 10, hloov ntawm kev sib txuas mus rau lub dav hlau ntawm lub xauv tes, tej zaum yuav nyob hauv lub dav hlau ntawm lub xauv nrog. Piv txwv, tus ncej 10 uas txuas nrog tus pawl 8 tuaj yeem txuas ntsug sab nraud upwards los ntawm pawl 8 thiab txuas ntxiv los ntawm sab saud thib ob kawg ntawm daim nqi feem. Hauv cov duab no, ib tus tuaj yeem tso tawmlub xauv tes(piv txwv li, ua rau lub pawl 8 tawg ua haujlwm los ntawm tus tswv cuab ratchet 4) los ntawm rub daim hlau 10 hauv ib qho kev taw qhia feem ntau upwards. Cov kab sib txuas ntawm tus ncej rau lub pawl tej zaum yuav dhau los ntawm pob thiab qhov (socket) sib koom tes los yog los ntawm cov xov kab (piv txwv li, ntsia hlau ntsia hlau), raws li tau piav yav tas los nrog kev saib xyuas FIG. 3C thiab 3D.
Tsis tas li ntawd, nyob rau hauv lub ntsej muag nrog tus tswv cuab nres 44, uas ua rau kom muaj kev sib koom tes ntawm pawl 8 thiab tus tswv cuab ratchet 4 txawm hais tias txav ntawm cov tes tsho nrawm nrawm 10 lossis kev hloov ntawm tus yuam sij 36, ib qho kev txuas yuav tau txuas rau tus tswvcuab nres. 44 txhawm rau koom nrog thiab cuam tshuam rau tus tswvcuab nres 44. Cov kauj yuav txuas ntxiv rau tus tswvcuab nres 44 hla ib ntu ntawm ntu kawg ntawm qhov kawg ntawm txoj kev tsis tso cai (piv txwv li, raws li txoj kev xav txoj kab ib txoj kab kos mus txog tom kawg ntawm qhov xwm txheej). Txoj kev txuas no yuav ua tau los ntawm kev sib tw xov los yog pob thiab lub pob ntsawb. Tus neeg siv ntawm lublub xauv testej zaum yuav koom nrog tus tswvcuab nres 44 los ntawm kev txav tus ntug nyob rau hauv feem ntau qis mus rau sab nraud kev taw qhia, thiab disengage tus neeg nres koom tes 44 los ntawm kev txav tus ntug nyob rau hauv ib txoj kev ncaj nce mus. Txhawm rau hloov txoj kev kawmlub xauv tesmus rau qhov yuav txwv tsis pub siv, lub kauj hlau no, uas ua rau tus tswvcuab nres 44, uas nyob hauv lub chaw no yog qhov bar, raug tshem tawm kom tus neeg phem tsis tuaj yeem cuam tshuam rau tus tswvcuab nres 44 tsis muaj tus yuam sij.
Nyob rau hauv raws li lwm lwm embodiment ntawm tam sim no tsim muaj nyob rau hauv FIGS. 4 (A), 4 (B) thiab 4 (C), qhov tso tawm nrawm nrawm 10 yog tig tau txuas nrog rau ib sab 12 ntawm cov xwm txheej 2 lossis rau cov neeg nyob ruaj ruaj (tsis muaj) nyob rau lub rooj sib tham kaw 6 hloov raug ua kom phim rau lub pawl nws tus kheej. Tus ncej 10 ntxiv muaj ib daim phiaj tso rau tom qab 30 uas sib thooj rau qhov txuas tau txais kev sib koom los ua ke ob qho tib si thawj flange 50 ntawm tus tswv cuab nres 44 thiab lub xub pwg ntsug 26 ntawm lub pawl 8 nyob rau hauv kev txiav txim tias ob chav ntsuas phoo tuaj yeem sib cais thiablub xauv tesxauv los ntawm txhais tau tias ntawm ib qho kev sib hloov ntawm tus ncej 10 hauv moos moos. Yuav kom ua tiav qhov no, kwv yees tom qab 30 txuas ntxiv mus rau ib txoj hauj lwm nruab nrab ntawm lub xub pwg feem 48 thiab thawj flange 50 ntawm tus tswvcuab nres 44 (thaum lub xub pwg feem 48 tau nyob rau hauv kev sib cuag nrog lub pawl 8) yog li ntawd raws li qhov kev sib hloov moos ntawm lub moos. projection 30 txav ntawm lub xub pwg feem 48 (mus rau sab xis) tawm ntawm cov npoo sab saum toj ntawm lub pawl 8 thiab txuas ntxiv rub lub xub pwg ntsug 26 ntawm lub pawl 8 upwards. Hauv qhov qauv ntawm no, tus ncej 10 yog txuas rau tus neeg tso nyiaj 2 lossis tus neeg koom nrog nyob ruaj ruaj xws li tias nws muaj qhov tseem ceeb nrog cov keyhole 42 tsim nyob rau sab nraud ntawm sab nraub qaum 2. Nyob rau hauv no, ob leeg txuas ntxiv rau ntawm tus ncej 10 thiab lub flange. 40 ntawm tus yuam sij 36 tsis ua rau sib cuag tab sis tau muab tso rau qhov kev sib koom tes nrog tus thawj flange 50 ntawm tus tswv cuab nres 44 thiab lub xub pwg ntsug 26 ntawm lub pawl 8. Tsis tas li ntawd, txuas txuas ntawm tus ncej 10 mus rau pawl 8 hauv qhov chaw no ntxiv yuav yoog nrog kev tso tawm mechanism raws li tau piav qhia saum toj no nyob rau hauv thiaj li yuav pab ob siv ntawm covlub xauv tes.
Tam sim no xa mus rau FIG. 5 (A), pom sab ntawm lwm qhov ntawm kev txua tam sim no. Nres tus neeg koom tes 44 yog ib txoj hlua txuas xov hlau nyob hauv qhov chaw ntim khoom no. Tus tswvcuab nres 44 ua raws li kev siv lub tshuab xauv ob chav uas yuav raug coj mus rau hauv qhov chaw xauv, qhov chaw nres tus tswvcuab 44 txwv tsis pub lub pawl 8 tsis tuaj yeem tawm ntawm cov hniav ntawm tus tswvcuab ratchet 4 (tsis pom). Thaum tus tswvcuab nres 44 nyob hauv ib txoj haujlwm xauv, lub pawl 8 tuaj yeem ploj mus rau ntawm cov hniav ntawm tus tswv cuab 4, los ntawm txoj kev ceev-tso tus ncej 10 lossis los ntawm qhov tseem ceeb 36 (tsis pom). Hauv qhov tshwj xeeb no, tso tseg tus tswv cuab 44 ua ob qho tib si ua lub tshuab xauv ob npaug thiab zoo li lub caij nplooj ntoo hlav uas cuam tshuam qhov pawl 8 mus rau cov tswvcuab arcuate ratchet 4. Tus tswvcuab nres 44 tuaj yeem suav nrog ib qho txuas, elongated sawb ntawm cov hlau, raws li qhia hauv FIG. 5 (A), lossis tej zaum yuav yog tus tswvcuab ruaj khov raws li qhia hauv ntawv YAJ. 2 (A) -2 (C).
Nyob rau hauv rooj plaub uas tus tswv cuab nres 44 yog tus tswvcuab ruaj khov, lub caij nplooj ntoo hlav 34 dhau los ua ib tus tibneeg, thiab tsis muaj feem nrog tus tswvcuab nres (xws li, FIGS. 2 (A) -2 (C), ntu 34). Kev siv lub caij nplooj ntoos hlav cais 34 mus rau kev ua haujlwm ntawm pawl 8 tawm tsam tus tswvcuab arcuate 4 tau qhia meej rau hauv FIGS. 2 (A) -2 (C).
LIG. 5 (A) tseem qhia txog qhov kev tso nrawm nrawm 10 uas txuas nrog lub pob qhov rooj 32. Raws li tau hais yav tas los, cov txhais lus ntawm pob qhov rooj 32, txuas nrog lub qhov tso tawm ceev 10, disengages lub pawl 8 los ntawm cov hniav ntawm arcuate ratchet tus tswvcuab 4 (saib cov FIGS. 3 (C) thiab 3 (D)) thaum tus tswvcuab nres 44 nyob hauv txoj haujlwm xauv. Hauv cov lus hais no, tus tso nrawm nrawm 10 txuas nrog ncaj qha rau pawl 8.
Xa mus tseem rau FIG. 5 (A), tus tswv cuab nres 44 suav nrog txoj kab txuas mus rau sab xub pwg 48, uas koom nrog sab saud ntawm lub pawl 8 hauv txoj haujlwm xauv ob zaug thiab tsis txuas rau lub pawl 8 hauv txoj haujlwm xauv. Tus tswvcuab nres 44 txuas ntxiv mus rau thawj zaug thiab zaum ob nqes tes txuas ntxiv 50, 52 pov tseg rau ntawm qhov xaus ntawm tus tswv cuab nres 44, qhov twg tus thawj flange 50 nyob ze rau qhov kawg thib ob 24 ntawm pawl 8 thiab flange 40 ntawm qhov tseem ceeb 36 thaum ntxig, thiab qhov flange thib ob 52 yog nyob rau qhov sib thooj mus rau ib qho kab rov tav 62. Raws li tau hais dhau los, tus tswv cuab nres 44 tau txav mus rau hauv cov kev taw qhia feem ntau kab rov tav los ntawm daim ntawv thov ntawm cov quab yuam mus rau qhov flange thib ob 52 kom txav lub xub pwg feem 48 hauv thiab tawm ntawm kev sib cuag nrog lub ntsej muag sab sauv ntawm pawl 8. Thaum muaj kev sib cuag nrog lub pawl, tus tswv cuab nres 44 ua kom muaj kev sib koom tes los ntawm pawl 8 thiab tus tswv cuab ratchet 4 (tsis tau qhia tawm), txawm hais tias txav ntawm lub nrawm nrawm 10 lossis kev sib hloov ntawm qhov tseem ceeb 36.
Hauv cov lus sib dhos no, lub tshuab xauv ob chav sib koom ua ke los ntawm kev txav tus tswv cuab 44 los ntawm tus ncej thib ob 60, txuas ntxiv rau tus nplaim thib ob 52 ntawm tus tswv cuab nres 44. Los ntawm kev txav tus zaum ob 60 hauv feem ntau kab rov tav, tus tswv cuab nres 44 uas yog detachably txuas ntxiv rau lub plhaw thib ob 60 ntawm ob sab flange 52, koom tes pawl 8. Qhov ob lub tshuab xauv khawm tseem tuaj yeem koom nrog los ntawm ntxig thiab txav pob tw 38 ntawm tus yuam sij 36 los ntawm kab rov tav 62, uas tau tsim nyob rau sab phaj 12 ntawm qhov khuam 2, mus rau hauv kev sib cuag nrog lub flange thib ob 52 ntawm tus neeg nres nres 44.
Qhov ob txuas 60 txuas ntxiv los ntawm kab rov tav kab 62 tsim nyob rau hauv ib sab phaj 12 ntawm qhov khuam 2. Tsis tas li, tus ncej thib ob no 60 hla ob sab phaj 12 ntawm qhov xwm yeem 2, thiab koom tes rau lub flange thib ob 52 ntawm nres tus tswv cuab 44. Qhov thib ob tus ncej 60 yog ruaj rau hauv qhov chaw los ntawm txuas thawj lub pob qhov rooj 64 mus rau ib qho kawg ntawm tus ncej thib ob 60 thiab ib rab pob 65 mus rau lwm qhov kawg ntawm tus ncej thib ob 60. Tus thawj pob thiab ob lub pob qhov rooj 64, 65 tuaj yeem txuas rau tus nqaj ob. 60 hauv ntau txoj kev (piv txwv li, ntawm xov lossis ib lub pob thiab lub pob (socket) sib koom ua ke. Nrog rau qhov kev tsim kho no, lub plhaw thib ob 60 yog tshem tawm los ntawm kev tshem tawm ib qho ntawm pob qhov rooj 64, 65 thiab rub tus ncej ob 60 tawm ntawm kab rov tav 62.
LIG. 5 (B) piv txwv txog kev saib ntawm ntulub xauv testxog kab A' - A'. LIG. 5 (B) piv txwv txog thawj lub tog 10 muaj thawj lub pob qhov rooj 32 muab pov tseg rau ib kawg thiab pob qhov rooj thib ob 33 uas muab pov tseg rau tom kawg. Thawj daim 10 hla dhau ntawm pawl 8 thiab ob daim paib 12. LOJ. 5 (B) tseem qhia txog lub plhaw thib ob 60 (piv txwv li, ib qho sib faib) muaj thawj lub pob qhov rooj 64, muab pov tseg rau ib qho kawg, thiab lub pob qhov rooj thib ob 65 pov tseg ntawm qhov kawg. Thaum tus ncej thib ob 60 yog cov sib tshooj, tus ncej thib ob 60 txuas ob sab ntawm ob sab ntawm tus npluav thib 52 ntawm tus nres koom tes 44 raws li qhia.
LIG. 5 (C) qhia txog ib ntu ntawm Phau Ntawv Maumooslub xauv testxog kab B' - B'.
LIG. 5 (C) piv txwv txog thawj lub cev 10 muaj thawj lub pob qhov rooj 32 ntawm ib qho kawg thiab lub pob qhov rooj thib ob 33 tom ib qho kawg. Ncej 10 hla dhau ntawm cov pawl tshooj 8 thiab kuj hla dhau ntawm daim phaj 12. Ib txoj haujlwm thib 60 muaj lub pob qhov rooj 64 thiab lub pob qhov rooj 65 ntawm qhov xaus tom qab yog qhia. Qhov ob ob sab kis 60 hla ntawm sab phaj 12 thiab koom tes nrog tus nres nres koom tes 44.
Nws tau sau tseg tias txawm hais tias qhov kev tsim muaj tam sim no tau piav qhia nyob rau hauv cov ntaub ntawv nyiam thiab hloov chaw, nws yuav zoo siab tias ntau yam kev hloov kho thiab kev hloov pauv tuaj yeem txhim kho txoj haujlwm ntawmlub xauv teslos ntawm cov neeg txawj hauv kev kos duab yam tsis muaj kev ncaim ntawm tus ntsuj plig thiab lub luag haujlwm ntawm kev tsim. Yog li ntawd, qhov tsim muaj yuav tsum ntsuas qhov tseeb ntawm cov neeg foob uas ua raws.
Qee yam pom zoo kom cov khoom rau koj siv :
https://www.senkencorp.com/search/handcuff.html
https://senken.en.alibaba.com/search/product?SearchText=handcuff
Handcuff Video:
https://www.youtube.com/watch?v=59rcOB1g1ms
https://www.youtube.com/watch?v=tt1FHbiJ4R0
https://www.youtube.com/watch?v=WBOlplSF7ps
Koj Tseem Yuav Zoo Li
-

100W Compact Slimline dub tub ceev xwm Siren Horn hais lu...
-

Ntau Colour Option Nqes Thiab Flush Mount LED Tsheb Lub T...
-

GB13954-2009 Standard IP65 Gen3 LED Beacon LTE905 / LTD905
-

Super Slim Tub Ceev Xwm thiab Tsheb Thauj Thaum Muaj Xwm ...
-

Tshiab tuaj Ncaj Ncees Hnav Txheej Txheem Tebchaws NIJ Tx...
-

Kev Nyab Xeeb Kev Nyuaj Siab Cov Khoom Siv Hluav Taws Xob...








